kapitola 1).

UMĚLÉ HORIZONTY

zpět na hlavní stranu .. zpět na rozcestník

Umělý horizont je jeden ze základních gyroskopických přístrojů.

Platí pro ně všeobecné pravidlo o zacházení s gyroskopickými přístroji.

Většinou je označeno samolepkou na krytu přístroje :

caut

Text nás nabádá k zacházení s extrémní opatrností.

Výrobce nedoporučuje přenášet, nebo jinak manipulovat s přístrojem, pokud není rotor úplně zastaven.

Nyní ale zpět k vlastnímu přístroji.

Umělý horizont je přístroj, který ukazuje pilotovi informaci o podélném a příčném sklonu letounu vůči horizontu.

Základním funkčním prvkem těchto přístrojů je rotující setrvačník / zjednodušeně rotor.

Tento rotor je uložen v rámech se třemi stupni volnosti a má svislou osu rotace.Je zavěšen v prostoru ve dvou rámech.Vnitřním a vnějším.

Rotor může být roztáčen dvěma způsoby a to buď :

- elektricky

- vzduchem

Tak dělíme umělé horizonty na elektrické a pneumatické. Elektrické pak ještě na stejnosměrné s napětím většinou 5V, 14V, 28V a střídavé.

U stejnosměrných rotorů však dochází z principu k opotřebování uhlíkových kartáčků kolektoru a k jiskření.

Proto jsou téměř všechny rotory gyroskopických přístrojů napájeny střídavým napětím.. a to i přístroje stejnosměrné.

Ptáte se jak je to možné ?

Jednoduše.Uvnitř vlastního přístroje je takzvaný měnič.To je elektronické zařízení, které dělá ze stejnosměrného napětí napětí střídavé, většinou třífázové.

Na obrázku vlevo dole si můžete jeden takový měnič ( anglicky inverter ) prohlédnout.


Pneumatické horizonty pak dělíme na podtlakové a přetlakové.

Zdrojem pro otáčení jejich rotoru jsou pak buď vývěva nebo kompresor, napojená na motor letadla.

Nyni něco k symbolice a jak vlastně umělý horizont informuje pilota o poloze letounu.

Obrázky zleva - doprava. Letoun je bez sklonu a náklonu , náklon 10° vlevo a na posledním je náklon 10° doprava.

HOR0 HORL HORR

Obrázky zleva - doprava. Letoun stoupá 10° , letoun klesá 10° .

HORUP HORD

Jak je zřejmé z dvou spodních obrázků, některé typy umělých horizontů nemají dělení stupnice pro stoupání a klesání.

Tento úhel je pak více méně odhadován podle polohy symbolu letadla a nulové čáry horizontu.

Dále je z obrázků vidět, že symbol letadélka vůči letounu stojí a otáčí se vnitřní mechanizmus přístroje.

 

(2014)...aby byla symbolika více názorná, vložím na stránku i obrázky náklonů a sklonů z jiného typu horizontu.

Obrázky opět zleva - doprava. Letoun je bez sklonu a náklonu na 0°, náklon 30° vlevo a na posledním náklon 30° doprava.

hor_0 hor_l hor_p

 

Obrázky zleva - doprava. Letoun stoupá 30° a letoun klesá 30° .

hor_st hor_kl

 

Na dalších dvou obrázcích jsem vyfotil takzvaný "varovný praporek" , který signalizuje u některých typů přístrojů nedostatečný podtlak v horizontu.

U elektrických přístrojů pak praporek vyskočí do zorného pole pilota, když je nízké napájecí napětí, nebo při nízkých otáčkách rotoru gyroskopu.

Levý obrázek ... vše pracuje jak má. Pravý obrázek ... špatný podtlak v okruhu rotoru, nebo je podtlak vypnut.

hor_on hor_off

 

Na spodním obrázku je pěkně vidět systém vnitřního a vnějšího rámu ( rotor - gyro je demontován ) :

shor

Pro názornost vložím animaci umělého horizontu při zapnutém a vypnutém vnitřním osvětlení ( pokud je ním vybaven ) :

horl

 

(2014)..Přidám ještě jednu animaci. Je to přepínání obrázku horizontu LUN1202 v režimu den / noc :

LUN1202

 

Na krátkém videu níže je ukázka testu horizontu RCA22-7 na otočném / kyvném stole :

 

Aby jste si udělali bližší představu, jak vypadá jiný typ umělého horizontu uvnitř přístroje, nafotil jsem pár obrázků při demontáži umělého horizontu RC Allen RCA26AK-2. Je to americký umělý horizont s napájením stejnosměrným napětím 14V.

Na prvním obrázku je vidět vnitřní rám, ve kterém je pomocí dvou kuličkových ložisek po stranách uložen " domeček " s rotorem gyroskopu.

hor_26_1

 

Domeček, nebo držák ( z anglického originálu slova housing ) je na následujícím obrázku. V tomto obalu drží vlastní rotor umělého horizontu. Hřídel rotoru prochází skrz tento domeček. Na spodní straně je uchycena závitem s kontra-matkou, na horní je pak suvně uložena do horního krytu. Pracovní poloha v přístroji je tak, jak je na obrázku.

Z toho je zřejmé, že osa rotace u všech umělých horizontů je svislá ! Na rozdíl u direkčních kompasů, které mají osu rotace setrvačníků vodorovnou.

hor_26_2

 

Na dalším obrázku je vidět tato sestava ( Inner housing assembly ) z pohledu shora. Pěkně jsou zde vidět tři fáze napájející rotor ( ve skutečnosti stator ) setrvačníku s barvami ORANŽOVÁ - ZELENÁ - BÍLÁ. Podle těchto barev se hned na první pohled pozná, že je to měnič / rotor / přístroj určený pro napájení 14Vdc. Plastový půlkruh vlevo je segment, který zabezpečuje mechanickou aretaci umělého horizontu do pomyslné " 0 " , tedy do horizontu. Jak velké jsou síly při roztočeném rotoru si jistě dokážete představit. Jestli ne...poradím vám...VELKÉ.

Proto nabádám všechny letce se silnou paží : "Aretujte umělé horizonty zlehka, plynule a dejte rotoru čas se převalit do základní polohy k horizontu ".

Může se totiž stát, že když za aretaci zarvete vší silou, plastový díl se ulomí, zdvihátko se ohne a vás bude čekat nemilé vydání...( obrazně v dolarech ) protože nové náhradní díly se musí posílat přes oceán. A to se prodraží.

Na obou obrazcích je pěkně vidět sběrač pro kluzné kontakty ( originál Slip Ring ) , pomocí kterého se převádí napětí pro rotor. Je to vlastně otočný mechanizmus. V čechách se tomu říká kartáčky. Je to modro - zlatá trubička se třemi proužky.

Chladícími otvory na horní straně rotoru je vidět malý kousek vinutí statoru.

hor_26_3

 

Na spodním obrázku je již sestava vnitřního domečku rotoru sesazená s příčným rámem, uložená ve dvou miniaturních ložiscích. Opět je zde krásně vidět silnější hřídel, která vystupuje doprava a je zakončená opět sběračem. Pomocí něho se napětí převádí na vnější rám přístroje a potom do měniče.

hor_26_4

 

Každý přístroj tak má dvě sestavy sběračů a cesta napětí je následující :

- palubní síť letounu 14Vdc

- vypínač napájení umělého horizontu ( doporučuji vřadit jistící prvek / jistič )

- vedení do konektoru na pouzdru / zadní straně přístroje

- měnič uvnitř přístroje z kterého již vychází střídavé napětí o třech fázích

- první trojice kontaktů ( na zadní části vnějšího rámu )

- vedení

- druhá trojice kontaktů ( na boku vnitřního rámu )

- vedení do statoru gyroskopu.

 

Na spodním obrázku vlevo je pěkně vidět ještě nezapojený sběrač. Šest drátků sběrače je tam proto, že každá fáze používá dva drátky pro zvětšení bezpečnosti přenosu napětí.

hor_26_5

 

Další obrázek již ukazuje kompletní sestavu vnitřního rámečku i s přední polomaskou ( hnědá / modrá kulatá stupnice ) a s pohyblivou maskou, to je ta vnitřní část, která svým pohybem nahoru - dolů indikuje podélný sklon letounu. Pohyb housingu gyroskopu je otáčen ( převracen ) speciálním raménkem. Tím se docílí toho, že může být symbolika umělého horizontu, tak jak je tomu v reálu. To znamená hnědá-zem dole a modrá-obloha nahoře.

Je to pro pilota daleko přirozenější a jednodušší, než například u některých starších ruských horizontů, nebo u staršího českého typu LUN 1202 z Mikrotechny. Tyto přístroje mají hnědou nahoře a modrou dole ! ( Nikdy jsem podle takového přístroje nelétal a ani bych nechtěl ). Co k tomu výrobce vedlo nechápu, ale je pravda, že odpadne právě ta negace pohybu gyroskopu oproti symbolice, která ukazuje sklon.

RCA26_5

 

V červeném rámečku je dobře vidět frézovaná kulisa a nad ní položené " negovací " mosazné ramínko s ocelovým čepem.

RCA26_7

 

Na posledním obrázku ze série horizont RC Allen 26AK-2 je již celá sestava, pouze bez vnějšího krytu. V okně přístroje vpravo nahoře je pěkně vidět indikační varovný praporek ( warning flag ), který indikuje pilotovi nevyhovující stav horizontu. Většinou indikuje nepřítomnost napájecího napětí, u vyspělejší diagnostiky nedostatečné otáčky rotoru gyroskopu.

RCA26-8

 

Pro názornost, jak vypadají různá pojetí zobrazení informace o poloze letounu, jsou na následujících dvou obrázcích. Jedná se o starší typy ruské výroby a tomu také odpovídá symbolika. Na prvním obrázku je typ AGK-47, napájený střídavým napětím 3x36V/400Hz, který se používá např. ve vrtulníku Mi-2. V této vyrovnané poloze přístroje je barva černá na všech polích a pilot se řídí pouze podle pozice "letadélka" vůči středovému břevnu. Pokud letoun stoupá, symbol jde nad čáru, pokud klesá, jde logicky dolů. Stejně je to i s náklonem. Letadélko se v pravém náklonu nakloní doprava, v levém naopak doleva. To je mechanicky přizpůsobeno ozubeným převodem, který pohyb gyroskopu v náklonech otáčí o 180°. Hnědá a modrá barva je v podélném sklonu zobrazena až po překročení hodnoty 40°. V náklonech barva není nijak prezentována.

agk

 

Na druhém obrázku je pak hodně starý přístroj s názvem AGI-1 ( avia gorizont istrebitelja ). Symboliku má stejnou, jako třeba československý LUN-1202, který se používal v mnoha našich sportovních motorových letounech z té doby. Schválně píšu Československo, protože v té době jsme ještě byly společný stát se Slováky. Chápu technicky, proč má hnědou nahoře, ale já osobně bych podle něj tedy létat nechtěl. Myslím, že soudobé přístroje s hnědou dole a modrou nahoře jsou jaksi přirozeněnjší. Tento přístroje je ale plně akrobatický, může se tedy ve sklonu i náklonu přetáčet o 360°. K napájení se používá opět napětí 3x36V/400Hz. Tento přístroj se již v dnešní době asi moc nepoužívá. Naposledy jsem se s ním setkal v Jak/C-11.

agi1

 

Třetí typ zobrazení symboliky umělého horizontu je na dalším obrázku, kde je přístroj AGB-3. Je to horizont se zajímavým řešením přenosu informace podélného sklonu. Na rozdíl od obou horních má již zobrazení standadní, to je světlá nahoře a tmavá dole.

agb-3

Zobrazovač je totiž řešen pomocí kovové "tapety", která se navíjí na dva kovové válečky. Jeden váleček je poháněn elektromotorem. Mezi sebou jsou válečky propojeny kovovým lankem, které tvoří uzavřenou smyčku. O kolik stupňů se pootočí jeden váleček, o ten samý úhel se pootočí druhý. Informace o úhlu pootočení je získána ze selsynu, který je umístěn na rámu horizontu ( uvnitř rámu je gyroskop ).Signál je zesílen zesilovačem a tímto napětím se řídí natáčecí motor. Na rozdíl od horizontů AGK a AGI, je informace o sklonu zobrazována "nepřímo". U některých modernějších přístrojů je gyroskop umístěn zcela v jiném pouzdře a ukazatel je pak "pouze" dálkový zobrazovač.

Pro představu, jak konkrétně vypadá systém indikační tapety a dvou rozváděcích cívek si můžete prohlédnout na dalších obrázcích. Pěkně je vidět i řešení varovného praporku, který je pomocí elektromechanizmu a dorazu vyklápěn směrem nahoru, mimo zorné pole pilota.

agb_a agb_b

Na spodním obrázku si můžete prohlédnout dvě navíjecí cívky zboku. Ve spodní je pohonný elektromotor a v horní pak systém prožinového tlumení rázů. Lanko, popisované nahoře v textu je vidět v pravé části mezi cívkami ( svisle ). Tapeta a lanko tak tvoří uzavřenou smyčku pro pohon tapety.

agb_c

 

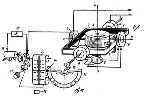
Obrázek dole zobrazuje schematické propojení jednotlivých systémů v AGB-3.

schema

 

Na horním schematu je zesilovač označen číslem 19. Jeho skutečná podoba v přístroji je pak na obrázku níže.

zesil

 

Zajímavé řešení přenosu napětí na otáčejících se rámech v horizontech je na spodním obrázku. Jedná se o pozlacené prstýnky na izolační trubičce, po kterých se kluzně pohybují jednotlivé kartáčky ( lidově "fousy" ). Dráhy jsou většinou pozlacené, kartáčky potom postříbřené. Tím je zaručena stálost a odolnost při přenosu proudu. Když někde něco selže, například se v obvodu vytvoří zkrat, tak to pak může dopadnout jako na obrázku vpravo. Spálené kartáčky i vodící dráhy...

brushes worn

 

Na tomto obrázku je celkový pohled na horizont AGB-3K. Části přístroje zprava jsou knoflík aretace, černý čelní rámeček, za který se přístroj přidělává do palubní desky. Pak následuje větší část, uvnitř které je systém pohyblivé tapety podélného sklonu. Stříbrný váleček v její horní části je motor "praporku" signalizace výpadku napájení. Ve druhé části je vlastní gyroskop a vlevo pak sběrače převodu proudu. V zadní části horizontu je pak vidět zelený zesilovač. Tento přístroj je napájen střídavým napětím 3x36V/400Hz a také napětím stejnosměrným 27V. Na rozdíl od přístrojů AGK-47 a AGI-1 má přístroj ABG-3K vyvedeny signály o podélném sklonu a příčném náklonu, které mohou sloužit třeba pro autopilot, nebo jiné systémy.

agb

 

Na dalším obrázku jsem udělal snímek pro představu, jak vypadají ložiska rámů umělého horizontu. Ta větší, pro větší zatížení jsou samozřejmě ložiska vnějšího ( příčného ) rámu, ta menší pak drží domeček rotoru ( ten vlastě vytváří podélný rám ) a tím se indikuje podélný sklon přístroje / letounu.

Všechna ložiska, která používám jsou zásadně od amerického výrobce, firmy NHBB, kterou předepisuje manuál pro generální opravy. ( originál ... New Hampshire Ball Bearings ) První dvě písmena v názvu SSRI znamenají Steinless Stell, to znamená že jsou vyrobena z nerezavějící oceli. Ta menší ložiska na obrázku mají průměr kolem 6mm !!!

hor_26_brgs

 

O ložiscích se nebudu více rozepisovat. Plánuji jim do budoucna věnovat samostatnou kapitolu.

Jsou totiž nedílnou a nebojím se říci hlavní součástkou na jejíž spolehlivosti a přesnosti závisí fungování všech gyroskopických přístrojů.

 

zpět na hlavní stranu .. zpět na rozcestník